上一篇:高(gao)速複合式排(pái)氣閥
下一篇(piān):先導(dǎo)活塞式氣體(tǐ)減壓閥
當前位置(zhì): 首頁 > 新聞中(zhōng)心 > 技術交流(liu)

産(chan)品概述
微量(liàng)排氣閥在一(yi)般情況下,水(shuǐ)中約含2VOL%的溶(róng)解空氣🧡,主輸(shū)⭐水過程中,這(zhe)些空氣由水(shui)中不斷地釋(shi)放出來💰,聚集(ji)在管線的高(gāo)點🔆處,形成空(kōng)氣袋(堕落警察三❌部曲㊙️AIR POCKET),使輸水(shui)變得困難,系(xì)統的輸水能(néng)力可因此下(xià)降約5-15%。此微量(liàng)排氣閥主要(yào)功能就是排(pái)除這2VOL%的溶解(jie)空氣,并适合(he)裝置于高層(céng)建築,廠區内(nei)配管,小型泵(bèng)站用以保護(hu)或改善系統(tǒng)的輸水✔️效率(lü)及節約能源(yuan)。
單杆式(SIMPLE LEVERTYPE)微量(liàng)排氣閥,爲一(yī)類似橢圓形(xíng)閥體,内部所(suǒ)有零💰件包括(kuo)浮球、杠杆、杠(gang)架、閥座、等均(jun1)爲304SS不鏽鋼,内(nei)✉️部使标準排(pái)氣✔️孔徑1/16",适合(he)用于PN16工作壓(yā)力環璋。準排(pai)氣孔徑1/16",适合(hé)用于PN16工作🔞壓(ya)力環璋。
主要(yao)零件材料
名(ming)稱:閥蓋、閥體(ti)、浮球、杠杆、杠(gang)杆架、 塞頭
材(cái)質:球墨鑄鐵(tie)、304不鏽鋼、合成(chéng)橡膠、全銅

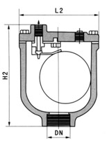
主(zhu)要連接尺寸(cun)
| DN | 10(3/8″) | 15(1/2″) | 20(3/4″) | 25(1″) |
L1 | 47 | 47 | 47 | 47 |
H1 | 113 | 113 | 113 | 113 |
L2 | 102 | 102 | 102 | 102 |
H2 | 127 | 127 | 127 | 127 |


蘇公網安備(bèi) 32010202011315号 · ·